Кронштейн правый 1221-8403060-Б-01
Артикул:
1221-8403060-Б-01
Кронштейн правый 1221-8403060-Б-01; БЕЛАРУСЬ
Подробнее
121,96 руб./шт
Нет в наличии
Нашли дешевле?
Под заказ
Наши менеджеры обязательно свяжутся с вами и уточнят условия заказа
Цена действительна только для интернет-магазина и может отличаться от цен в розничных магазинах
Описание
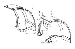
На фото №13
Применяется к моделям:
МТЗ-1221 (2009)
Область применения: Крылья передних колес
Характеристики
|
Применяемость запчастей
|
МТЗ 1221, 1522,2022 |
|
Реквизиты
|
Товар, 00-00002678, 4.9 |
|
Вес (грамм)
|
4900 |
Применяемость
| Марка | Модель | Иллюстрация | Название детали по каталогу |
|---|---|---|---|
| МТЗ | МТЗ-1221 (2009) | Крылья передних колес | Кронштейн |


