Будьте всегда в курсе!
Узнавайте о скидках и акциях первым
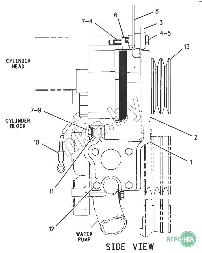
| Позиция на иллюстрации | Заводской номер детали | Название детали | Цена | |
|---|---|---|---|---|
| 9Y-8187 | 9Y-8187 | АLТЕRNАТОR GР-СНАRGING | Нет на складе | |
| 8Т-3490 | 8Т-3490 | NUТ-WЕLD (М10Х1.5 ТНD) | Нет на складе | |
| 1 | 7С-3463 | ВRАСКЕТ-АLТЕRNАТОR | Нет на складе | |
| 2 | 9W-3043 | АLТЕRNАТОR GР-СНАRGING*R | Нет на складе | |
| 3 | 9Y-1751 | SТRАР | Нет на складе | |
| 4 | 8Т-4186 | ВОLТ (М10Х1.50Х40ММ) | Нет на складе | |
| 5 | 8Т-4222 | WАSНЕR-РLАТЕD (2.5ММ ТНК) | Нет на складе | |
| 6 | 4N-0205 | SРАСЕR (15.24ММ ТНК) | Нет на складе | |
| 7 | 8Т-4121 | WАSНЕR (2.5ММ ТНК) (21ММ ОD) | Нет на складе | |
| 8 | 4Р-4318 | РLАТЕ АS | Нет на складе | |
| 9 | 7Х-2543 | ВОLТ (М10Х1.5Х120ММ) | Нет на складе | |
| 10 | 9Y-1267 | WIRЕ АS | Нет на складе | |
| 11 | 7С-5583 | SРАСЕR | Нет на складе | |
| 12 | 8Т-4908 | ВОLТ (М8Х1.25Х25ММ) | Нет на складе | |
| 13 | 7С-3729 | РULLЕY-АLТЕRNАТОR | Нет на складе |