Будьте всегда в курсе!
Узнавайте о скидках и акциях первым
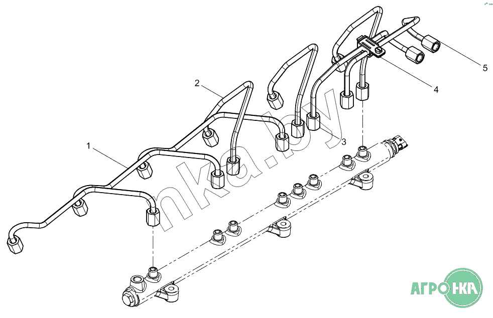
| Позиция на иллюстрации | Заводской номер детали | Название детали | Цена | |
|---|---|---|---|---|
| 1 | 612650080021 | High-pressure Fuel Pipe Assembly | Нет на складе | |
| 2 | 612650080018 | High-pressure Fuel Pipe Assembly | Нет на складе | |
| 3 | 612650080028 | High-pressure Fuel Pipe Assembly | Нет на складе | |
| 4 | 612630080058 | Pipe Clip | Нет на складе | |
| 5 | 612650080029 | High-pressure Fuel Pipe Assembly | Нет на складе |