Будьте всегда в курсе!
Узнавайте о скидках и акциях первым
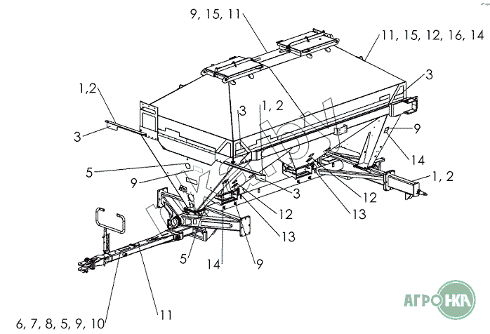
| Позиция на иллюстрации | Заводской номер детали | Название детали | Цена | |
|---|---|---|---|---|
| 1 | 997761 | REFLECTOR, RED | Нет на складе | |
| 2 | 997662 | REFLECTOR ORANGE | Нет на складе | |
| 3 | 997663 | REFLECTOR YELLOW | Нет на складе | |
| 4 | 9971009 | SAFETY SIGN, SPEED SIGN, 30 km/h | Нет на складе | |
| 5 | 997861 | SAFETY SIGN, READ MANUAL | Нет на складе | |
| 6 | 997857 | SAFETY SIGN, FASTEN SAFETY CHAIN | Нет на складе | |
| 7 | 997853 | SAFETY SIGN, UNHITCHING HAZARD | Нет на складе | |
| 8 | 997859 | SAFETY SIGN, ENGINE OFF | Нет на складе | |
| 9 | 997863 | SAFETY SIGN, HIGH VOLTAGE | Нет на складе | |
| 10 | 997867 | SAFETY SIGN, FLUID UNDER PRESSURE | Нет на складе | |
| 11 | 997840 | SAFETY SIGN, CHEMICAL HAZARD | Нет на складе | |
| 12 | 700732049 | SAFETY SIGN, EXPLODING PARTS READ MANUAL | Нет на складе | |
| 13 | 9971011 | SAFETY SIGN, MOVING PART HAZARD | Нет на складе | |
| 14 | 997841 | SAFETY SIGN, CRUSHING HAZARD | Нет на складе | |
| 15 | 9971015 | SAFETY SIGN, FALL OFF HAZARD | Нет на складе | |
| 16 | 700731523 | SAFETY SIGN, HOT SURFACE, HAND, | Нет на складе |