Будьте всегда в курсе!
				Узнавайте о скидках и акциях первым
			 
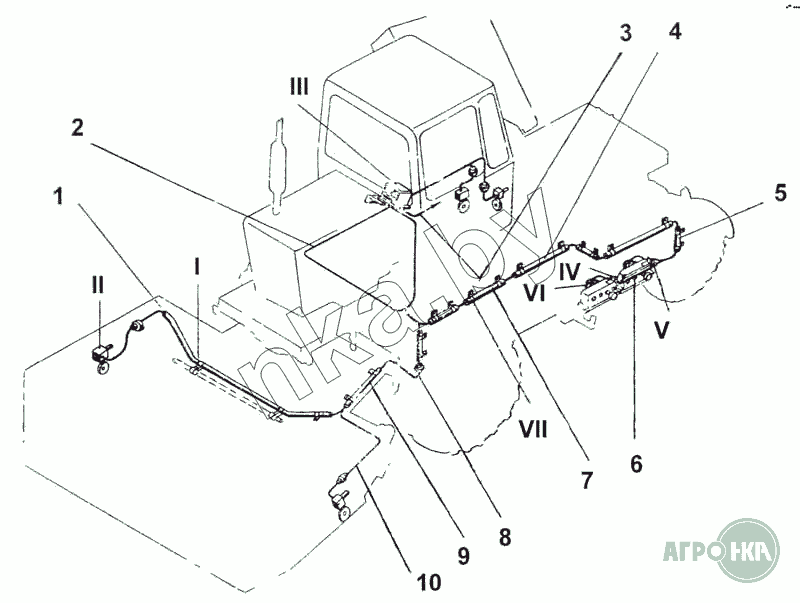
              | Позиция на иллюстрации | Заводской номер детали | Название детали | Цена | |
|---|---|---|---|---|
| СПТ-18000 | СПТ-18000 | Система автоконтроля свеклопогрузчика | Нет на складе | |
| 1 | СПТ-18802 | Труба | Нет на складе | |
| 2 | СПТ 18110 | Кабель машины | Нет на складе | |
| 3 | РКС6 24060 | Кабель питания | Нет на складе | |
| 4 | РКР-46404-04 | Желобок 1 = 1060 мм | Нет на складе | |
| 5 | РКР-46404 | Желобок 1 = 500 мм | Нет на складе | |
| 6 | СПТ 18804 | Труба 14х1,4-10В ТУ 14-3-1181-83 1=450мм | Нет на складе | |
| 7 | БМД 10404-10 | Желобок l=400 мм | Нет на складе | |
| 8 | БМД-10603-04 | Оплетка 320 мм (47761222035) | Нет на складе | |
| 9 | БМД-10404-01 | Желобок 255 мм | Нет на складе | |
| 10 | СПТ-18020 | Кабель питания | Нет на складе | |
| 11 | СПТ-18501 | Кронштейн | Нет на складе |