Будьте всегда в курсе!
Узнавайте о скидках и акциях первым
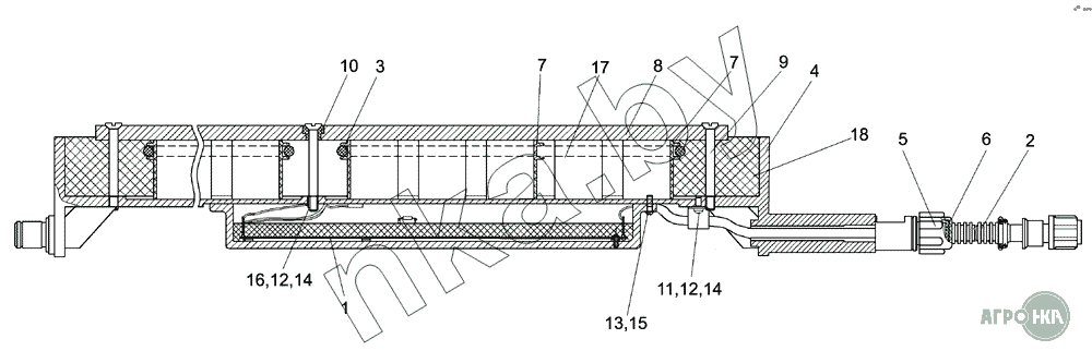
| Позиция на иллюстрации | Заводской номер детали | Название детали | Цена | |
|---|---|---|---|---|
| КГС 0171100 | КГС 0171100 | Датчик металлодетектора | Нет на складе | |
| 1 | КВС-1-0701030 | Блок датчика | Нет на складе | |
| 2 | КВС-1-0701080 | Жгут | Нет на складе | |
| 3 | КГС 0171120 | Катушка | Нет на складе | |
| 4 | КГС 0171140 | Корпус датчика | Нет на складе | |
| 5 | КВС-1-0701011 | Гайка | Нет на складе | |
| 6 | КВС-1-0701023 | Муфта | Нет на складе | |
| 7 | КВС-1-0701051 | Каркас | Нет на складе | |
| 8 | КГС 0171701 | Полюс | Нет на складе | |
| 9 | МДИ 0010003 | Винт | Нет на складе | |
| 10 | ПКК 0116012 | Втулка | Нет на складе | |
| 11 | УЭС-0700800 | Хомут | Нет на складе | |
| 12 | Винт В.М4-6ех8 – 17473 | Винт В.М4-6ех8 – 17473 | Нет на складе | |
| 13 | Винт В.М6-6ех14 – 17473 | Винт В.М6-6ех14 – 17473 | Нет на складе | |
| 14 | Шайба 4 65Г-6402 | Шайба 4 65Г – 6402 | Нет на складе | |
| 15 | Шайба 6Т 65Г-6402 | Шайба 6Т 65Г-6402 | Нет на складе | |
| 16 | Лепесток 5М7.751.105 | Лепесток 5М7.751.105 | Нет на складе | |
| 17 | Магнит АБПК 200.104.000-01 | Магнит АБПК 200.104.000-01 | Нет на складе | |
| 18 | Компаунд полиуретановый АДВ-31 | Компаунд полиуретановый АДВ-31 | Нет на складе |