Будьте всегда в курсе!
Узнавайте о скидках и акциях первым
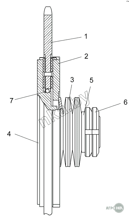
| Позиция на иллюстрации | Заводской номер детали | Название детали | Цена | |
|---|---|---|---|---|
| КГС 0900010 | КГС 0900010 | Муфта фрикционная | Нет на складе | |
| 1 | КИЛ-2-0900020 | Звездочка | Нет на складе | |
| 2 | КИС 0202414А | Кольцо прижимное | Нет на складе | |
| 3 | КИС 0202423 | Пружина тарельчатая 2-2-2-120х60х4х4-3057 | Нет на складе | |
| 4 | КИС 0202605Б | Ступица муфты | Нет на складе | |
| 5 | КИС 0202803А | Втулка | Нет на складе | |
| 6 | Гайка М56х2-6Н – 11871 | Гайка М56х2-6Н – 11871 | Нет на складе | |
| 7 | Шарик 7.144-100 – 3722 | Шарик 7.144-100 – 3722 | Нет на складе |