Будьте всегда в курсе!
Узнавайте о скидках и акциях первым
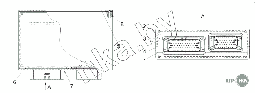
| Позиция на иллюстрации | Заводской номер детали | Название детали | Цена | |
|---|---|---|---|---|
| КЗК-1420-0701600 | КЗК-1420-0701600 | Модуль жатки | Нет на складе | |
| 1 | КЗК-1420-0701610 | Плата микроконтроллера | Нет на складе | |
| 2 | КЗК-1420-0701620 | Плата управления | Нет на складе | |
| 3 | КВК0701012 | Профиль верхний | Нет на складе | |
| 4 | КВК0701014 | Профиль нижний | Нет на складе | |
| 5 | КВК0701023 | Пластина задняя | Нет на складе | |
| 6 | КВК0701024 | Пластина передняя | Нет на складе | |
| 7 | Винт2-2,5х8-10619 | Винт 2-2,5х8-10619 | Нет на складе | |
| 8 | Винт2-3х12-10619 | Винт 2-3х12-10619 | Нет на складе |