Будьте всегда в курсе!
Узнавайте о скидках и акциях первым
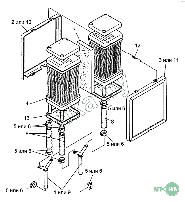
| Позиция на иллюстрации | Заводской номер детали | Название детали | Цена | |
|---|---|---|---|---|
| УЭС0301430-02 | УЭС0301430-02 | Блок радиаторов | Нет на складе | |
| УЭС0301430-01 | УЭС0301430-01 | Блок радиаторов | Нет на складе | |
| 1 | УЭС0301040 | Тройник | Нет на складе | |
| 2 | УЭС0301220-02 | Рамка | Нет на складе | |
| 2 | УЭС0301220-03 | Рамка | Нет на складе | |
| 3 | УЭС0301220-04 | Рамка | Нет на складе | |
| 3 | УЭС0301220-05 | Рамка | Нет на складе | |
| 4 | ОТ1.13.010 | Радиатор отопителя | Нет на складе | |
| 5 | А23-02.260 | Хомут | Нет на складе | |
| 6 | 308765-П | Хомут | Нет на складе | |
| 7 | УЭС0301014 | Прокладка | Нет на складе | |
| 8 | УЭС0301025 | Шланг | Нет на складе | |
| 9 | УЭС0301033 | Тройник | Нет на складе | |
| 10 | УЭС0301431-02 | Рамка | Нет на складе | |
| 10 | УЭС0301431-03 | Рамка | Нет на складе | |
| 11 | УЭС0301431-04 | Рамка | Нет на складе | |
| 11 | УЭС0301431-05 | Рамка | Нет на складе | |
| 12 | УЭС0301606 | Пружина | Нет на складе | |
| 13 | 70-8115138 | Прокладка | Нет на складе |