Будьте всегда в курсе!
				Узнавайте о скидках и акциях первым
			 
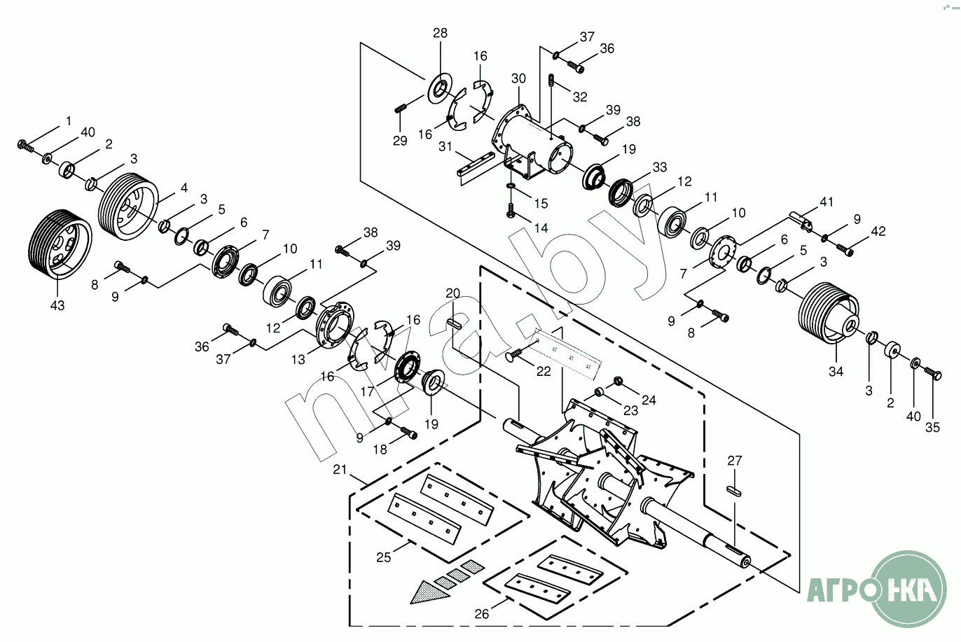
              | Позиция на иллюстрации | Заводской номер детали | Название детали | Цена | |
|---|---|---|---|---|
| 202246350 | 202246350 | Shim | Нет на складе | |
| 1 | 9003520 | Hex head bolt-left-hand thread | Нет на складе | |
| 2 | 200263830 | Cap | Нет на складе | |
| 3 | 200245331 | Lock collar | Нет на складе | |
| 4 | 200215670 | Pulley-disc corn conditioner | Нет на складе | |
| 4 | 200245350 | Pulley | Нет на складе | |
| 5 | 9110051 | Shim ring | Нет на складе | |
| 5 | 9110040 | Shim ring | Нет на складе | |
| 6 | 200248031 | Raceway outside Rd 80 x 27.5 | Нет на складе | |
| 7 | 202220450 | Cover Rd 160 | Нет на складе | |
| 8 | 9030771 | Allen screw | Нет на складе | |
| 9 | 9099030 | Detent edged washer | Нет на складе | |
| 10 | 9360660 | Radial-shaft sealing ring | Нет на складе | |
| 11 | 900001930 | Pendular roller bearing | Нет на складе | |
| 12 | 9364472 | Radial-shaft sealing ring | Нет на складе | |
| 13 | 200260170 | Bearing housing-right | Нет на складе | |
| 14 | 9006570 | Hex head bolt | Нет на складе | |
| 15 | 9099101 | Detent edged washer | Нет на складе | |
| 16 | 200263880 | Enclosure | Нет на складе | |
| 17 | 200248000 | Cover | Нет на складе | |
| 18 | 9030731 | Allen screw | Нет на складе | |
| 19 | 200247990 | Ball race | Нет на складе | |
| 20 | 9150040 | Fit-in key | Нет на складе | |
| 21 | 200248521 | Rotor | Нет на складе | |
| 21 | 200263701 | Rotor-HD optional | Нет на складе | |
| 22 | 9047791 | Coach bolt | Нет на складе | |
| 23 | 2276802 | Bushing | Нет на складе | |
| 24 | 9087010 | Locknut | Нет на складе | |
| 25 | 200258600 | Elevator paddle-right, by pairs | Нет на складе | |
| 25 | 200231951 | Elevator paddle-right, by pairs | Нет на складе | |
| 26 | 200258590 | Elevator paddle-left, by pairs | Нет на складе | |
| 26 | 200231961 | Elevator paddle-left, by pairs | Нет на складе | |
| 27 | 9150180 | Fit-in key | Нет на складе | |
| 28 | 200263870 | Ring | Нет на складе | |
| 29 | 9059331 | Threaded pin | Нет на складе | |
| 30 | 200260120 | Bearing housing-left | Нет на складе | |
| 31 | 2141140 | Thread block | Нет на складе | |
| 32 | 9057671 | Threaded pin | Нет на складе | |
| 33 | 200248010 | Receiver ring | Нет на складе | |
| 34 | 200248041 | Pulley | Нет на складе | |
| 35 | 9021080 | Hex head bolt | Нет на складе | |
| 36 | 900004730 | Allen screw | Нет на складе | |
| 36 | 9031412 | Allen screw | Нет на складе | |
| 37 | 9099110 | Detent edged washer | Нет на складе | |
| 38 | 9006170 | Hex head bolt | Нет на складе | |
| 39 | 9099081 | Detent edged washer | Нет на складе | |
| 40 | 9106250 | Washer | Нет на складе | |
| 41 | 202222770 | Scraper | Нет на складе | |
| 42 | 9030781 | Allen screw | Нет на складе | |
| 43 | 202215050 | Belt pulley 7 308mm-cracker drive-7 rills | Нет на складе |