Будьте всегда в курсе!
Узнавайте о скидках и акциях первым
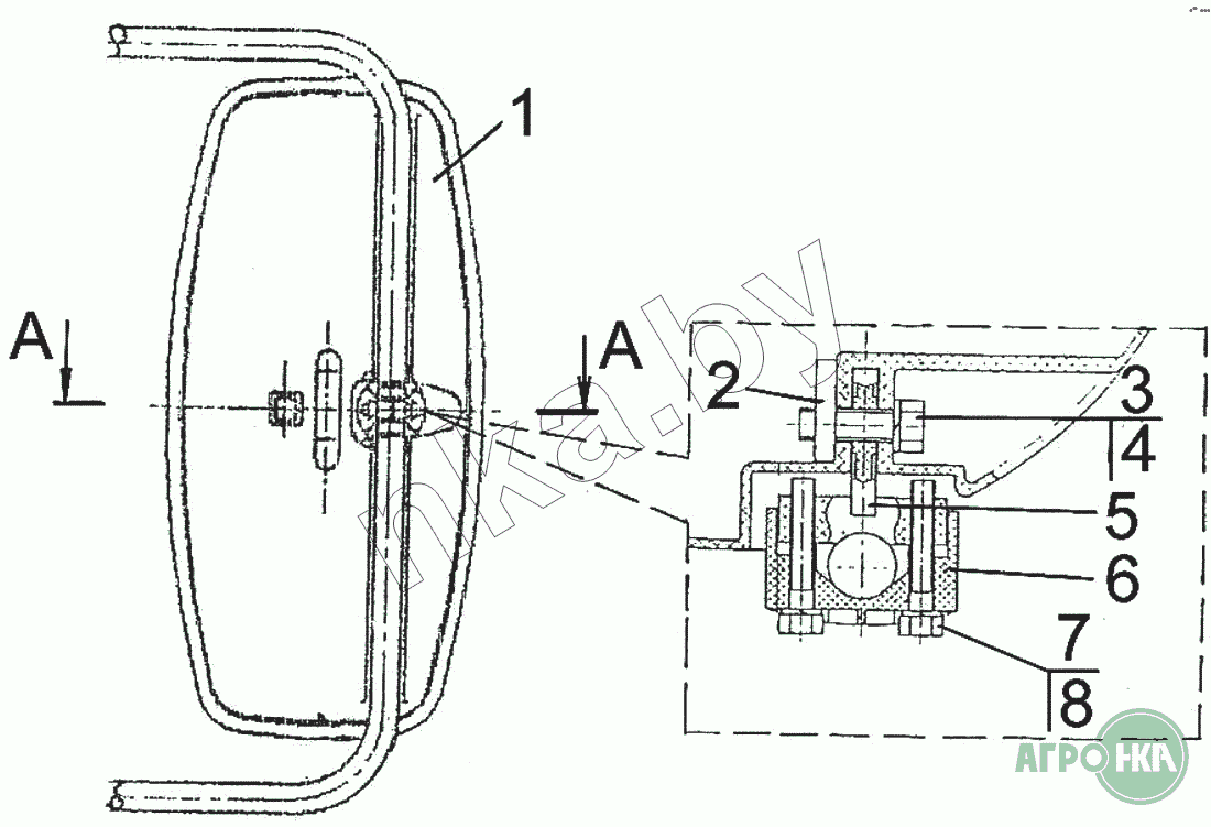
| Позиция на иллюстрации | Заводской номер детали | Название детали | Цена | |
|---|---|---|---|---|
| 1 | САКД 458201.050 | Зеркало наружное | Нет на складе | |
| 2 | САКД 458201.075 | Пластина | Нет на складе | |
| 3 | М8х35 | Болт | Нет на складе | |
| 4 | ШП 8 | Шайба | Нет на складе | |
| 5 | САКД 458201.062 | Кронштейн | Нет на складе | |
| 6 | САКД 458201.064 | Втулка | Нет на складе | |
| 7 | М6х40 | Болт | Нет на складе | |
| 8 | ШП 6 | Шайба | Нет на складе |