Будьте всегда в курсе!
Узнавайте о скидках и акциях первым
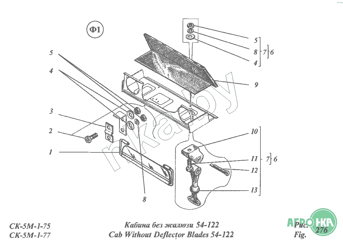
| Позиция на иллюстрации | Заводской номер детали | Название детали | Цена | |
|---|---|---|---|---|
| 1 | РСМ-10.04.21.010 | Солнцезащитные козырьки | Нет на складе | |
| 2 | 7798 М6-8gх20.48.019 | Болт | Нет на складе | |
| 3 | 54-51327А | Зажим | Нет на складе | |
| 4 | 11371 С6х1,4.01.019 | Шайба | Нет на складе | |
| 5 | 5915 М6-6Н.6.019 | Гайка | Нет на складе | |
| 6 | 54-122-1А | Каркас кабины | Нет на складе | |
| 7 | 54-121-9В | Опора | Нет на складе | |
| 8 | 6402 6Т.65Г.019 | Шайба | Нет на складе | |
| 9 | 54-121-12Б | Фильтр | Нет на складе | |
| 10 | 54-42318 | Скоба | Нет на складе | |
| 11 | 7798 М6-8gх16.48.019 | Болт | Нет на складе | |
| 12 | 397 5x36.019 | Шплинт | Нет на складе | |
| 13 | 54-00430 | Защелка | Нет на складе |