Будьте всегда в курсе!
Узнавайте о скидках и акциях первым
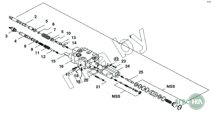
| Позиция на иллюстрации | Заводской номер детали | Название детали | Цена | |
|---|---|---|---|---|
| 1 | 86034226 | Корпус | Нет на складе | |
| 3 | 86500461 | Пробка | Нет на складе | |
| 4 | 86034265 | Трубка регулятора расхода | Нет на складе | |
| 5 | 86500473 | Тарелка пружины | Нет на складе | |
| 6 | 86500469 | Упор золотника | Нет на складе | |
| 7 | 86500474 | Пружина | Нет на складе | |
| 8 | 86034265 | Трубка регулятора расхода | Нет на складе | |
| 9 | 86500476 | Пружина внутренняя | Нет на складе | |
| 10 | V84260 | Уплотнительное кольцо, внут.диам.1.250dm толщина 0.06dm | Нет на складе | |
| 11 | V89382 | Пружина внешняя | Нет на складе | |
| 12 | 86500464 | Игла | Нет на складе | |
| 13 | 86500470 | Шток | Нет на складе | |
| 14 | 49858 | Кольцо уплотнительное 116 | Нет на складе | |
| 15 | 86500460 | Штифт | Нет на складе | |
| 17 | 86018333 | Клапан с седлом в сборе | Нет на складе | |
| 18 | 86034263 | Шарик | Нет на складе | |
| 19 | 86001590 | Заглушка | Нет на складе | |
| 20 | 86034259 | Уплотнительное кольцо, нитрил 90-Duro | Нет на складе | |
| 21 | 86019463 | Корпус первичный | Нет на складе | |
| 22 | 86508425 | Шайба 0.25x0.375x0.625 Pl | Нет на складе | |
| 23 | 86555967 | Болт 1/4dm-20х1-5/8dm | Нет на складе | |
| 24 | 86034258 | Корпус фиксатора | Нет на складе | |
| 25 | 86034257 | Ось | Нет на складе |