Будьте всегда в курсе!
				Узнавайте о скидках и акциях первым
			 
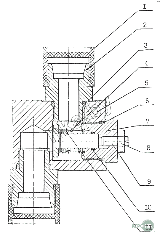
              | Позиция на иллюстрации | Заводской номер детали | Название детали | Цена | |
|---|---|---|---|---|
| 40.1906.190 | 40.1906.190 | Дроссель | Нет на складе | |
| 1 | 22241.42 | Крышка | Нет на складе | |
| 2 | 10.1700.004 | Штуцер | Нет на складе | |
| 3 | 18829.027.032.30.2.2 | Кольцо | Нет на складе | |
| 4 | 40.1906.194 | Пружина | Нет на складе | |
| 5 | 40.1906.191 | Корпус | Нет на складе | |
| 6 | 18829.032.038.36.2.2 | Кольцо | Нет на складе | |
| 7 | 40.1906.192 | Пробка | Нет на складе | |
| 8 | 5915.10 | Гайка | Нет на складе | |
| 9 | 40.1906.193 | Винт | Нет на складе | |
| 10 | 18829.014.018.25.2.2 | Кольцо | Нет на складе | |
| 11 | 40.1906.195 | Клапан | Нет на складе |