Будьте всегда в курсе!
Узнавайте о скидках и акциях первым
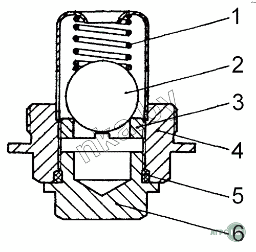
| Позиция на иллюстрации | Заводской номер детали | Название детали | Цена | |
|---|---|---|---|---|
| 50-26-757СП | 50-26-757СП | Клапан слива | Нет на складе | |
| 1 | 700-38-173 | Пружина | Нет на складе | |
| 2 | Б25,4-100 | Шарик Б25,4-100 | Нет на складе | |
| 3 | 748-20-1013 | Седло | Нет на складе | |
| 4 | 50-26-758СП | Колпачок | Нет на складе | |
| 5 | 700-40-2135 | Кольцо | Нет на складе | |
| 6 | 700-37-2290 | Пробка | Нет на складе |