Будьте всегда в курсе!
Узнавайте о скидках и акциях первым
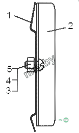
| Позиция на иллюстрации | Заводской номер детали | Название детали | Цена | |
|---|---|---|---|---|
| 114-59-120СП | 114-59-120СП | Заглушка | Нет на складе | |
| 114-59-120-01СП | 114-59-120-01СП | Заглушка | Нет на складе | |
| 1 | 114-59-63 | Пружина | Нет на складе | |
| 2 | 114-59-62 | Пластина | Нет на складе | |
| 3 | Шайба6Т.65Г.09 | Шайба 6Т.65Г.09 | Нет на складе | |
| 4 | ГайкаМ4-7Н.6.016 | Гайка М4-7Н.6.016 | Нет на складе | |
| 5 | ВинтВ.М4-6gх12.58.016 | Винт В.М4-6gх12.58.016 | Нет на складе |