Будьте всегда в курсе!
Узнавайте о скидках и акциях первым
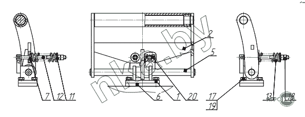
| Позиция на иллюстрации | Заводской номер детали | Название детали | Цена | |
|---|---|---|---|---|
| ПБУ-2.26.00.000 | ПБУ-2.26.00.000 | Ролик прижимной | Нет на складе | |
| 1 | ПБУ-2.26.01.000 | Кронштейн | Нет на складе | |
| 2 | ПБУ-2.26.02.000 | Прижим | Нет на складе | |
| 5 | ПБУ-2.26.00.001 | Ось | Нет на складе | |
| 6 | ПБУ-2.26.00.002 | Платик | Нет на складе | |
| 7 | ПБУ-2.26.00.003 | Втулка | Нет на складе | |
| 11 | 1ВСМ.26.00.004 | Втулка | Нет на складе | |
| 12 | 1ВСМ.26.00.005 | Тяга | Нет на складе | |
| 13 | 1ВСМ.26.00.006 | Пружина | Нет на складе | |
| 17 | М12-6gх25.88.019 | Болт М12-6gх25.88.019 | Нет на складе | |
| 18 | М12-6Н.8.35.019 | Гайка М12-6Н.8.35.019 | Нет на складе | |
| 19 | 12 65Г.019 | Шайба 12 65Г.019 | Нет на складе | |
| 20 | 8 h8х30 | Штифт 8 h8х30 | Нет на складе |