Будьте всегда в курсе!
Узнавайте о скидках и акциях первым
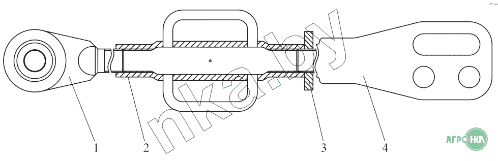
| Позиция на иллюстрации | Заводской номер детали | Название детали | Цена | |
|---|---|---|---|---|
| 1802-4605060 | 1802-4605060 | Раскос | Нет на складе | |
| 1 | 1522-4605065-01 | Винт | Нет на складе | |
| 2 | 1522-4605075 | Труба | Нет на складе | |
| 3 | 1522-4605071 | Контргайка | Нет на складе | |
| 4 | 1522-4605080 | Вилка | Нет на складе |