Будьте всегда в курсе!
				Узнавайте о скидках и акциях первым
			/79.gif) 
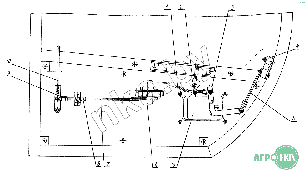
              | Позиция на иллюстрации | Заводской номер детали | Название детали | Цена | |
|---|---|---|---|---|
| 1 | 005-04-02.03.003 | Пружина | Нет на складе | |
| 2 | 312-20-02.42.200 | Рычаг | Нет на складе | |
| 3 | 312-20-02.42.500 | Рычаг | Нет на складе | |
| 4 | 2108-6105014 | Замок наружный | Нет на складе | |
| 5 | 312-20-02.42.100 | Тяга | Нет на складе | |
| 6 | 312-20-02.22.500 | Ручка замка | Нет на складе | |
| 7 | 312-20-02.42.300 | Тяга | Нет на складе | |
| 8 | 005-04-02.03.002 | Пружина | Нет на складе | |
| 9 | 005-01-03.10.012 | Вилка | Нет на складе | |
| 10 | 312-20-02.42.400 | Рычаг | Нет на складе |