Будьте всегда в курсе!
Узнавайте о скидках и акциях первым
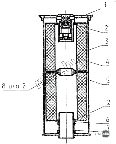
| Позиция на иллюстрации | Заводской номер детали | Название детали | Цена | |
|---|---|---|---|---|
| 1 | РС 120-71.80.240 | Клапан предохранительный | Нет на складе | |
| 2 | 23.01.84.301 | Кольцо уплотнительное | Нет на складе | |
| 2 | 23.01.84.303 | Кольцо уплотнительное | Нет на складе | |
| 3 | 005-04-80.01.010 | Корпус | Нет на складе | |
| 4 | Реготмас 661-1-05 | Элемент фильтрующий | Нет на складе | |
| 4 | 55Р-661А-1-06 ТУ55.11224.00 | Элемент фильтрующий | Нет на складе | |
| 5 | 23.03.84.340 | Шайба промежуточная | Нет на складе | |
| 6 | 23.01.84.302 | Шайба | Нет на складе | |
| 7 | 23.01.84.305 | Пружина | Нет на складе | |
| 8 | Кольцо уплотнительное от фильтра «Реготмас 661-1-05» | Кольцо уплотнительное от фильтра «Реготмас 661-1-05» | Нет на складе | |
| 37 | 9833.030-035-30-2-3 | Кольцо | Нет на складе |